Мощный импульс против застоев. Наши пневмопушки быстро и безопасно устраняют заштыбовки в бункерах и силосах, гарантируя непрерывный поток сыпучих материалов.
Забудьте о ручном разбивании пробок. Эффективные пневматические пушки восстанавливают поток материала, устраняя необходимость в опасном ручном труде и повреждении оборудования.
Технологии для идеального потока. Мы предлагаем надежные воздушные пушки, которые предотвращают образование сводов и налипаний, обеспечивая стабильную работу вашего производства.
Непрерывная технология вместо рутины. Наше оборудование автоматически ликвидирует заторы, сокращая простои и повышая производительность ваших технологических линий.


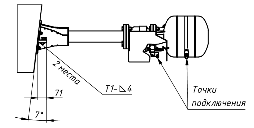
Чертеж
Изделие
Емкость ресивера, л
Вес, кг
Диаметр трубы, мм
2 л
3,2 кг
40 мм
5 л
4,6 кг
40 мм
10 л
6,2 кг
40 мм
25 л
21 кг
40 мм
50 л
55 кг
80 мм
Мощный воздушный импульс безопасно и мгновенно разрушает устойчивые своды, "крыши" и налипания материала в емкостях.
Полностью исключает необходимость опасного ручного протыкания или простукивания стенок бункеров персоналом.
Увеличивает интервалы между плановыми остановками для очистки и предотвращает повреждение стенок силосов и бункеров от вибраторов.
Обеспечивает стабильный и равномерный выход материала, предотвращая простои оборудования, расположенного после бункера (конвейеры, дозаторы, дробилки).
Бережное воздействие импульсом не наносит ущерба конструкции бункера или силоса в отличие от мощных вибраторов.
Простая конструкция без сложных движущихся частей обеспечивает долгий срок службы и минимальные требования к техническому обслуживанию.
ООО "ИНЖЕНЕРНЫЕ РЕШЕНИЯ"
ИНН/КПП 7802954879/780201001
ОГРН 1247800070649
Время работы с 08:00 до 18:00
+7 (993) 477-54-26